
타워크레인 설치․조립․해체 작업계획서 작성지침
1. 목적
이 지침은 산업안전보건기준에 관한 규칙 제38조(사전조사 및 작업계획서의 작 성 등), 제142조(타워크레인의 지지) 및 건설기계 안전기준에 관한 규칙 제25절 (타워크레인) 등의 규정에 의하여 타워크레인 설치․조립․해체작업을 안전하게 하기 위한 작업계획서를 작성하는 기준을 정하는데 그 목적이 있다.
2. 적용범위
이 지침은 건설현장의 고정식 타워크레인 설치․조립․해체 작업계획서 작성에 적용한다.
3. 용어의 정의
(1) 이 지침에서 사용하는 용어의 정의는 다음과 같다.
(가) "고정식 타워크레인"이라 함은 콘크리트 기초 또는 고정된 기초 위에 설치 된 타워크레인을 말한다.
(나) "사업주"라 함은 근로자를 사용하여 사업을 하는 자를 말한다.
(다) “텔레스코핑(Telescoping) 작업”이라 함은 마스트를 연장 또는 해체작업 을 하기위해 유압장치 및 실린더가 동작하고 있는 상태를 말한다.
(라) “텔레스코픽 케이지(Telescopic cage)”라 함은 마스트를 연장 또는 해체 작업을 하기위해 유압장치 및 실린더가 부착되어 있는 구조의 마스트를 말한다.
(마) “정격하중”이라 함은 타워크레인의 권상하중에서 훅, 그래브 또는 버킷 등 달기기구의 하중을 뺀 하중을 말한다.
(바) "권상하중"이라 함은 타워크레인이 지브의 길이 및 경사각에 따라 들어 올릴 수 있는 최대의 하중을 말한다.
(사) "횡행"이라 함은 트롤리(trolley) 및 달기기구가 지브를 따라 이동하는 것을 말한다.
(아) "자립고"라 함은 보조적인 지지․고정 등의 수단 없이 설치된 타워크레인 의 마스트 최하단부에서부터 마스트 최상단부까지의 높이를 말한다.
(자) “순간풍속”이라 함은 하루 중 바람이 순간적으로 가장 세게 불었던 때의 풍속을 말한다.
(2) 기타 이 지침에서 사용하는 용어의 정의는 이 지침에서 특별히 규정하는 경우를 제외하고는 산업안전보건법, 같은 법 시행령, 같은 법 시행규칙, 산 업안전보건기준에 관한 규칙 및 유해․위험작업의 취업 제한에 관한 규칙 에서 정하는 바에 따른다.
4. 관계법령
산업안전보건기준에 관한 규칙 제38조에 의하면 타워크레인 설치․조립․해체 작업을 하는 경우 다음과 같이 작업계획서 작성을 하여야 한다.
(1) 사업주는 근로자의 위험을 방지하기 위하여 다음의 내용을 포함한 작업계 획서를 작성하고 그 계획에 따라 작업을 하도록 하여야 한다.
(가) 타워크레인의 종류 및 형식
(나) 설치․조립 및 해체순서
(다) 작업도구․장비․가설설비 및 방호설비
(라) 작업인원의 구성 및 작업근로자의 역할 범위
(마) 산업안전보건기준에 관한 규칙 제142조에 따른 지지 방법
(2) 사업주는 (1)항에 따라 작성한 작업계획서의 내용을 해당 근로자에게 알려 야 한다.
5. 작업계획서 작성
타워크레인 설치․조립․해체 작업계획서 작성 시에는 다음 각 호의 내용들을 작업계획서에 포함하여야 한다.
5.1 작업개요 (<부록 표 1> 참조)
(1) 사업장 일반사항
(가) 현장명
(나) 현장주소, 전화번호
(2) 본사 비상연락망
(가) 주소, 대표전화
(나) 각 부서별 부서장과 담당자 이름 및 연락처
(3) 타워크레인 설치계획표
(가) 일정, 시간
(나) 작업공정, 작업분담 및 담당근로자
(4) 타워크레인 배치도
5.2 타워크레인의 종류 및 형식 (<부록 표 2> 참조)
(1) 종류 및 형식
(가) 규격, 형식, Jib 길이, Tip load
(나) 자립고, 전기용량, 제작사, 제작년도, 형태
(2) 타워크레인 수리․점검․사용 현황
(가) 수리․점검이력
(나) 사용이력
(다) 등록증 사본
(라) 운전원 면허증 사본
(3) 타워크레인 주요제원 및 하중표
5.3 설치․조립순서 및 작업별 점검․확인사항 (<부록 표 3> 참조)
(1) 타워크레인 설치 작업도를 작업계획서에 첨부하여야 한다.
(2) 타워크레인 설치․조립작업 흐름도를 작성한다. 타워크레인의 설치․조립은 제작회사에서 제공하는 설계도면 또는 설치 메뉴얼을 따르는 것을 원칙으 로 한다. 타워크레인 설치․조립작업 흐름도의 예는 <그림 1>과 같다.

〈그림 1〉타워크레인 설치․조립작업 흐름도
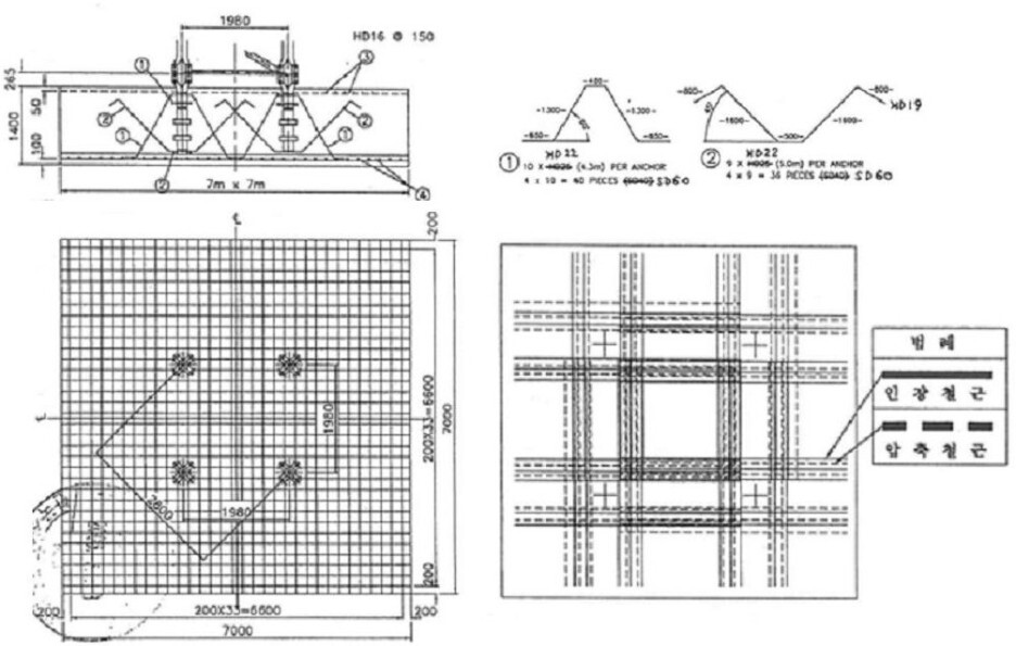
(3) 기초 앵커 도면을 작업계획서에 첨부한다. 기초 앵커 도면에 대한 예는
<그림 2>와 같다.

<그 2> 기초 앵커 도면
(4) 타워크레인 설치 작업 시 작업별 공정에 대한 점검․확인사항을 체크리스 트[<부록 표 3>의 (4)]로 만들어 작업계획서에 포함한다. 작업별 공정은 다 음 각 호와 같다.
(가) 기초 앵커 설치
(나) 인입전원 가설
(다) 베이직 및 일반마스트 설치
(라) 텔레스코픽 케이지 설치
(마) 운전실, 턴테이블 및 탑 헤드 설치
(바) 카운터 지브 설치
(사) 메인 지브와 카운터 웨이트 설치
(아) 와이어로프 설치
(5) 타워크레인 상승 작업 시 다음 각 호의 작업별 공정에 대한 점검․확인사 항을 체크리스트[<부록 표 3>의 (5)]로 만들어 작업계획서에 포함한다.
(가) 메인 지브와 카운터 웨이트의 균형 유지
(나) 텔레스코픽 케이지 설치
(다) 가이드레일에 새로운 마스트 상차
(라) 마스트 상승
(마) 상승 작업 중의 작동 금지
(바) 상승 작업 완료 후 조치
5.4 해체순서 및 작업별 점검․확인사항 (<부록 표 4> 참조)
(1) 타워크레인 해체작업 흐름도를 작업계획서에 작성한다. 타워크레인의 해체 는 제작회사에서 제공하는 설계도면 또는 해체 메뉴얼을 따르는 것을 원칙 으로 한다. 타워크레인 해체작업 흐름도의 예는 <그림 3>과 같다.

〈그림 3〉타워크레인의 해체작업 흐름도
(2) 타워크레인 해체 작업 시 작업별 공정에 대한 점검․확인사항을 체크리스 트[<부록 표 4>의 (2)]로 만들어 작업계획서에 포함한다. 작업별 공정은 다 음 각 호와 같다.
(가) 지브의 균형유지
(나) 마스트 해체
(다) 카운터 웨이트 및 메인 지브 해체
(라) 카운터 지브 해체
(마) 탑 헤드 해체, 턴테이블 및 운전실 해체
5.5 작업도구․장비․가설설비 및 방호설비 (<부록 표 5> 참조)
타워크레인 설치․조립 및 해체작업 시의 개인보호구, 작업도구 및 방호설비에 대한 체크리스트[<부록 표 5>]로 만들어 작업계획서에 포함한다.
(1) 개인보호구
(가) 안전대, 안전모, 안전화
(나) 안전장갑, 각반, 보안경 등
(2) 작업도구
(가) 토크렌치, 체인블럭, 샤클
(나) 받침목, 와이어로프 등
(3) 운반차량, 이동식크레인 등
(4) 방호설비
(가) 타워크레인 방호울타리
(나) 장비작업반경 접근방지 표지
(다) 변압기 손상방지용 선반 등
5.6 작업인원의 구성 및 작업근로자의 역할 범위 (<부록 표 6> 참조)
(1) 타워크레인의 설치․조립․해체 시 필요한 작업인원의 구성을 작업계획서 에 작성한다. 작업인원 구성의 예는 <그림 4>와 같다.

<그림 4> 작업인원의 구성
(2) 타워크레인의 설치․조립․해체 시 작업팀장의 책임 하에 각 근로자는 제 작회사에서 제공하는 설치․조립 또는 해체 매뉴얼에 제시 된 절차를 준수 하여야 한다.
5.7 중점 안전관리계획 (<부록 표 7> 참조)
타워크레인을 설치․조립․해체 작업계획서 작성 시에는 다음 각 호의 내용들을 작업계획서에 포함하여 작성하여야 한다.
(1) 타워크레인의 안전관리계획
(가) 현장 조치사항
(나) 설치․조립․해체 업체의 조치 및 준비사항
(2) 설치․해체용 크레인 통제방안
(3) 운반차량 통제방안
(4) 안전교육
(가) 작업팀에 대한 교육 내용
(나) 작업팀에 대한 현장 확인사항
(5) 노후장비에 대한 비파괴검사
5.8 타워크레인 지지 방법 (<부록 표 8> 참조)
(1) 타워크레인의 지지방법을 결정한다. 사업주는 타워크레인을 자립고 이상의 높 이로 설치하는 경우 건축물 등의 벽체에 지지하도록 하여야 한다. 다만, 지지 할 벽체가 없는 등 부득이한 경우에는 충분한 안전율을 확보한 와이어로프에 의하여 지지할 수 있다.
(2) 타워크레인을 벽체에 지지하는 경우 또는 와이어로프에 지지하는 경우의 사 업주 준수사항을 체크리스트로 만들어 작업계획서에 포함한다.
[부록] 타워크레인 설치․조립․해체 작업계획서(예시)
<부록 표 1> 작업개요
|
1. 작업개요
|
|||||
|
|
|||||
|
(1) 사업장 일반사항
|
|||||
|
현장명
|
|
||||
|
|
|
|
|
||
|
|
|||||
|
(2) 본사 비상연락망
|
|||||
|
주소
|
|
대표전화
|
|
||
|
부서명
|
부서장
|
연락처
|
담당자
|
연락처
|
|
|
|
|
|
|
|
|
|
|
|
|
|
|
|
|
|
|
|
|
|
|
|
|
|
|
|
|
|
|
|
|||||
|
(3) 타워크레인 설치계획표
|
|||||
|
일정
|
시간
|
작업공정
|
작업분담 및 담당근로자
|
||
|
월 일 |
00:00∼00:00
|
현장도착
|
공통
|
||
|
00:00∼00:00
|
안전교육 및 작업준비
|
공통
|
|||
|
00:00∼00:00 |
1.장비하역 및 설치준비
|
장비하역(○○○외○명)
|
|||
|
2.Basic mast 설치
|
장비설치 및 볼트체결
(○○○외 1명) |
||||
|
3.Mast & telescopic
cage 설치 |
하부작업(○○○외○명)
상부조립(○○○외○명) |
||||
|
4.Turn table & cabin
|
〃
|
||||
|
5.Top head
|
〃
|
||||
|
00:00∼00:00
|
중식 및 휴식
|
|
|||
|
00:00∼00:00 |
1.Counter jib 설치
|
하부작업(○○○외○명)
상부조립(○○○외○명) |
|||
|
2.타이바 설치
|
〃
|
||||
|
3.메인Jib 조립
|
〃
|
||||
|
월 일 |
00:00∼00:00
|
현장도착
|
공통
|
||
|
00:00∼00:00
|
안전교육 및 작업준비
|
공통
|
|||
|
00:00∼00:00
|
호이스트, 트롤리 와이
어 권선작업 |
하부작업(○○○외○명)
상부조립(○○○외○명) |
|||
|
00:00∼00:00
|
중식 및 휴식
|
|
|||
|
00:00∼00:00
|
1.Mast telescoping
|
하부작업(○○○외○명)
상부조립(○○○외○명) |
|||
|
|
2.T/C 악세서리 설치
|
〃
|
|||
|
월 일
|
00:00∼00:00
|
T/C 정기검사 준비 및
수검하중 셋팅 |
○○회사 기술팀
|
||
|
|
|
|
|
|
|
<부록 표 1> 작업개요 (계속)
|
(4) 타워크레인 배치도
|
|
(평면도)
![]() |
|
(입면도)
![]() |
<부록 표 2> 타워크레인의 종류 및 형식
|
2. 타워크레인의 종류 및 형식
|
|||||
|
|
|||||
|
(1) 종류 및 형식
|
|||||
|
규격
|
Jib 길이
|
자립고
|
제작사
|
||
|
|
|
|
|
||
|
형식
|
Tip load
|
전기용량
|
년식
|
형태
|
|
|
|
|
|
|
|
|
|
|
|||||
|
(2) 타워크레인 수리․점검․사용 현황
|
|||||
|
수리․점검이력 |
|
||||
|
|
|||||
|
|
|||||
|
|
|||||
|
|
|||||
|
|
|||||
|
|
|||||
|
|
|||||
|
|
|||||
|
|
|||||
|
|
|||||
|
|
|||||
|
사용이력
|
|||||
|
투입현장
|
사용기간
|
||||
|
|
|
||||
|
|
|
||||
|
|
|
||||
|
|
|
||||
|
|
|
||||
|
|
|
||||
|
|
|
||||
|
|
|
||||
|
|
|
||||
|
|
|
||||
|
|
|
||||
|
|
|
||||
|
※ 등록증 사본 별첨
|
|||||
|
※ 운전원 면허증 사본 별첨
|
|||||
|
|
|
|
|
|
|
|
(3) 타워크레인 주요제원 및 하중표
|
![]() ![]() |
[주] Radius and capacity : Radius and capacity(반경과 용량) 표는 Jib의 길이가 70m에서 31.67m인 경우에 대하여 최대 권상하중과 반경의 길이가 25.0m에서 70.0m일 때에 대한 권상하중 을 각각 나타내고 있다.
|
(3) 타워크레인 주요제원 및 하중표 (계속)
|
![]() |
[주] Hoisting height : Hoisting height(권상높이)에 대한 표는 베이직 마스터가 8.85m와 12.4m일 때의 권상높이를 나타낸 것으로, 마스터의 개수가 0개에서 10개까지일 때의 높이를 고정식과 주 행식일 때에 대해 각각 나타내고 있다.
<부록 표 3> 설치․조립순서 및 작업별 점검․확인사항
|
3. 설치․조립순서 및 작업별 점검․확인사항
|
|
|
|
(1) 타워크레인 설치 작업도
|
|
(평면도)
![]() |
|
(입면도)
![]() |
|
(2) 타워크레인 설치․조립작업 흐름도
|
||
|
<그림 1> 참조 |
||
|
|
||
|
(3) 기초 앵커 도면
|
||
|
<그림 2> 참조 |
||
|
|
||
|
(4) 설치 작업 시 작업별 공정에 대한 점검․확인사항
|
||
|
(가) 기초 앵커 설치
|
양호
|
불량
|
|
- 타워크레인 위치의 확정 후 기초도면에 준하여 터파기를 한다.
|
□
|
□
|
|
- 기초의 지내력은 타워크레인 기종별 앵커도면을 참조한다. 기초의 지내력이 미달되는 경우 별도의 구조검토를 수행하며,
그 결과에 따라 필요시 보강한다. |
□ |
□ |
|
- 기초 앵커의 셋팅 순서는 버림 콘크리트 타설, 먹매김, 앵커
설치, 철근배근, 콘크리트 타설 순으로 진행한다. |
□
|
□
|
|
- 버림 콘크리트는 10cm이상 타설하여야 하며 수평을 유지한다.
|
□
|
□
|
|
- 먹매김 후 물이 고이면 완전히 제거한다.
|
□
|
□
|
|
- 앵커 설치 시 레벨을 현장에서 확인한다.
|
□
|
□
|
|
- 앵커 셋팅 완료 후 현장 담당자 입회하에 레벨 확인서를 작성한다.
|
□
|
□
|
|
- 콘크리트 타설 시 앵커가 밀리지 않도록 조심한다.
|
□
|
□
|
|
- 콘크리트는 앵커에 미리 표시된 높이만큼만 타설한다.
|
□
|
□
|
|
- 콘크리트 타설 시 양생기간을 준수한다.
|
□
|
□
|
|
- 콘크리트 타설, 양생 후 앵커의 레벨을 현장에서 재확인한다.
|
□
|
□
|
|
|
||
|
(나) 인입전원 가설
|
양호
|
불량
|
|
- 전원 케이블은 타워크레인 단독으로 가설한다.
|
□
|
□
|
|
- 전력 공급원에서 케이블이 긴 타워크레인의 경우 전압강하를
감안하여 케이블을 선정한다. |
□
|
□
|
|
- 타워크레인의 용량에 맞는 변압기를 준비한다.
|
□
|
□
|
|
|
||
|
(4) 설치 작업 시 작업별 공정에 대한 점검․확인사항 (계속)
|
||
|
(다) 베이직 및 일반마스트 설치
|
양호
|
불량
|
|
- 베이직 마스트 및 고장력 볼트의 규격 일치를 확인한다.
|
□
|
□
|
|
- 토크렌치를 사용하여 고장력 볼트 및 핀 체결 상태를 확인한다.
|
□
|
□
|
|
|
||
|
(라) 텔레스코픽 케이지 설치
|
양호
|
불량
|
|
- 상, 하부 작업발판․난간 설치의 견고성 및 볼트 고정 상태를
확인한다. |
□
|
□
|
|
- 텔레스코픽 케이지 설치방향이 메인 지브방향을 고려하여 일치
하는지를 확인한다 |
□
|
□
|
|
- 텔레스코픽 케이지 가이드 레일, 안내롤러 및 유압장치의 시험
작동상태를 확인한다. |
□
|
□
|
|
- 유압장치의 오일누유 여부를 확인한다.
|
□
|
□
|
|
|
||
|
(마) 운전실, 턴테이블 및 타워 헤드 설치
|
양호
|
불량
|
|
- 턴테이블 인양용 와이어로프의 꼬인 것, 변형, 부식 등이 없는지
준비상태를 확인한다. |
□
|
□
|
|
- 턴테이블과 텔레스코픽 케이지와의 핀조립 누락 여부를 확인한다.
|
□
|
□
|
|
- 노출된 충전부의 절연보호 및 보호용 인입차단기 설치여부를
확인한다. |
□
|
□
|
|
|
||
|
(바) 카운터 지브 설치
|
양호
|
불량
|
|
- 풍압에 영향을 주는 부착물의 설치 여부를 확인한다.
|
□
|
□
|
|
- 카운터 지브 타이바 조립 및 연결상태를 확인한다.
|
□
|
□
|
|
- 카운터 지브 인양용 와이어로프의 꼬인 것, 변형, 부식 등이
없는지 준비상태를 확인한다. |
□
|
□
|
|
- 매뉴얼상의 인양지점과 일치여부를 확인한다.
|
□
|
□
|
|
|
||
|
(사) 메인 지브와 카운터 웨이트 설치
|
양호
|
불량
|
|
- 매뉴얼상의 인양지점과 일치한지를 확인한다.
|
□
|
□
|
|
- 지브 타이바 조립 및 연결상태를 확인한다
|
□
|
□
|
|
- 매뉴얼상의 순서에 따라 카운터 웨이트가 설치되는지 설치순서
준수 및 총 중량을 확인한다. |
□
|
□
|
|
|
||
|
(아) 와이어로프 설치
|
양호
|
불량
|
|
- 와이어로프 단말처리 상태를 확인한다.
|
□
|
□
|
|
|
||
|
(5) 상승 작업 시 작업별 공정에 대한 점검․확인사항
|
||
|
(가) 메인 지브의 균형 유지
|
양호
|
불량
|
|
- 상승작업 중 타워크레인 양쪽 지브의 균형 유지를 확인한다.
|
□
|
□
|
|
- 메인 지브 및 카운터지브의 위치 및 방향을 확인한다.
|
□
|
□
|
|
- 도심지의 경우 주변의 행인 및 차량통제를 확인한다.
|
□
|
□
|
|
|
||
|
(나) 텔레스코픽 케이지 설치
|
양호
|
불량
|
|
- 텔레스코픽 케이지 가이드레일, 안내롤러 및 유압장치의 시험
작동 상태를 확인한다. |
□
|
□
|
|
- 텔레스코픽 케이지 상하부 작업발판, 난간의 견고성 및 볼트
고정상태를 확인한다. |
□
|
□
|
|
- 텔레스코픽 케이지와 턴테이블 고정핀의 체결 누락여부를 확인
한다. |
□
|
□
|
|
- 실린더 작동전 슈, 받침대의 손상여부와 작동상태를 확인한다.
|
□
|
□
|
|
|
||
|
(다) 가이드레일에 새로운 마스트 상차
|
양호
|
불량
|
|
- 새로운 마스트 상차전 가드레일의 변형, 기능 이상 유무를 확인
한다. |
□
|
□
|
|
- 마스트 인양용 와이어로프를 준비한다.
|
□
|
□
|
|
- 마스트가 끼워질 충분한 공간 확보상태를 확인한다.
|
□
|
□
|
|
|
||
|
(라) 마스트 상승
|
양호
|
불량
|
|
- 텔레스코핑 슈의 브레이싱이 완전하게 안착되었는지를 확인한다.
|
□
|
□
|
|
- 새로운 마스트 인양시 상단부가 마스트에 완전 안착된 상태에서
안전핀 체결 누락 여부를 확인한다. |
□
|
□
|
|
- 상승작업 중 케이지와 마스트 사이에서 작업 및 이동 금지를
확인한다. |
□
|
□
|
|
|
||
|
(마) 상승 작업 중의 작동 금지
|
양호
|
불량
|
|
- 상승작업 중 트롤리의 이동 및 선회 작동 금지를 확인한다.
|
□
|
□
|
|
- 지브의 균형유지 여부를 확인한다.
|
□
|
□
|
|
|
||
|
(바) 상승 작업 완료 후 조치
|
양호
|
불량
|
|
- 상승작업 중 사용된 안전핀을 정상핀으로 교체 여부를 확인한다.
|
□
|
□
|
|
- 모든 고장력 볼트 또는 핀의 누락 여부 및 적정토크 체결 여부를
확인한다. |
□
|
□
|
|
- 고정용 핀, 볼트, 너트 등의 낙하방지 조치로 보관함을 사용하
는지를 확인한다. |
□
|
□
|
|
|
||
|
4. 해체순서 및 작업별 점검․확인사항
|
||
|
|
||
|
(1) 타워크레인 해체작업 흐름도
|
||
|
<그림 3> 참조
|
||
|
(2) 해체 작업 시 작업별 공정에 대한 점검․확인사항
|
||
|
(가) 지브의 균형유지
|
양호
|
불량
|
|
- 해체작업 중 타워크레인 양쪽 지브의 균형 유지를 확인한다.
|
□
|
□
|
|
- 메인 지브와 카운터 지브의 위치 및 방향을 확인한다.
|
□
|
□
|
|
- 도심지의 경우 주변의 행인 및 차량통제를 확인한다.
|
□
|
□
|
|
|
||
|
(나) 마스트 해체
|
양호
|
불량
|
|
- 텔레스코픽 케이지 가이드 레일, 안내롤러 및 유압장치의 시험
작동상태를 확인한다. |
□
|
□
|
|
- 유압장치의 오일누유 여부를 확인한다.
|
□
|
□
|
|
- 텔레스코픽 케이지 상, 하부 작업발판․난간 설치의 견고성
및 볼트 고정 상태를 확인한다. |
□
|
□
|
|
- 텔레스코픽 케이지와 턴테이블 고정핀 체결 상태에 대한 핀
또는 볼트 체결 누락 여부를 확인한다. |
□
|
□
|
|
- 상단부가 마스트에 완전히 안착된 상태에서 마스트 핀 체결 후의 작동을 확인한다. 핀이 체결되지 않은 상태에서는 절대로 작
동을 금한다. |
□ |
□ |
|
|
||
|
(다) 카운터 웨이트와 메인 지브 해체
|
양호
|
불량
|
|
- 메인 지브 해체에 따른 카운터 지브 불균형 상태를 확인한다.
|
□
|
□
|
|
- 매뉴얼상의 인양지점과 일치한지를 확인한다.
|
□
|
□
|
|
- 부재의 안전한 유도를 위한 유도 로프의 길이가 충분하고 손상이
없는지를 확인한다. |
□
|
□
|
|
- 카운터 웨이트를 메인지브 해체 후 해체한다.
|
□
|
□
|
|
- 타이바에서 해체된 핀, 볼트 등의 낙하 방지조치로 보관함을
사용한다. |
□
|
□
|
|
|
||
|
(라) 카운터 지브 해체
|
양호
|
불량
|
|
- 매뉴얼상의 인양지점과 일치한지를 확인한다.
|
□
|
□
|
|
- 카운터 지브 인양용 와이어로프의 꼬인 것, 변형, 부식 등이
없는지 준비상태를 확인한다. |
□
|
□
|
|
|
||
|
(마) 운전실, 턴테이블, 타워헤드 해체
|
양호
|
불량
|
|
- 매뉴얼상의 인양지점과 일치한지를 확인한다.
|
□
|
□
|
|
- 운전실 해체전 전력케이블 정리정돈 여부를 확인한다.
|
□
|
□
|
|
- 인양용 와이어로프의 변형, 부식 등이 없는지를 확인한다.
|
□
|
□
|
|
|
||
|
5. 작업도구․장비․가설설비 및 방호설비
|
||
|
|
||
|
(1) 개인보호구
|
양호
|
불량
|
|
- 안전대 준비를 확인한다.
|
□
|
□
|
|
- 안전모 준비를 확인한다.
|
□
|
□
|
|
- 안전화 준비를 확인한다.
|
□
|
□
|
|
- 장갑 준비를 확인한다.
|
□
|
□
|
|
- 각반 준비를 확인한다.
|
□
|
□
|
|
- 보안경 준비를 확인한다.
|
□
|
□
|
|
|
||
|
(2) 작업도구
|
양호
|
불량
|
|
- 토크렌치 준비를 확인한다.
|
□
|
□
|
|
- 체인블럭 준비를 확인한다.
|
□
|
□
|
|
- 샤클 준비를 확인한다.
|
□
|
□
|
|
- 받침목 준비를 확인한다.
|
□
|
□
|
|
- 와이어로프 준비를 확인한다.
|
□
|
□
|
|
|
||
|
(3) 운반차량
|
양호
|
불량
|
|
- 중량물 적재에 따른 과적 및 높이제한이 되지 않도록 차량을
선정한다. |
□
|
□
|
|
- 중량물 운반 시 적재물이 움직이지 않도록 단단히 고정한다.
|
□
|
□
|
|
- 타워크레인 해체순서에 맞도록 차량을 투입한다.
|
□
|
□
|
|
- 관리자를 배치하여 시간대별로 차량을 투입한다.
|
□
|
□
|
|
- 차량 운전기사는 현장하차시 안전모와 안전화를 착용한다.
|
□
|
□
|
|
- 차량 후진 시의 경보음 울림장치를 장착한다.
|
□
|
□
|
|
- 차량 후진 시 유도자를 배치한다.
|
□
|
□
|
|
- 차량 주·정차 시 고임목을 설치한다.
|
□
|
□
|
|
|
||
|
(4) 방호설비
|
양호
|
불량
|
|
- 타워크레인 방호울타리를 설치한다. 방호울타리의 규격은 높이
1.8m이상, 기초 규격 내의 크기를 설치한다.(권장사항) |
□
|
□
|
|
- 장비 작업반경 접근방지 표지를 설치한다.
|
□
|
□
|
|
- 변압기 손상방지용 선반을 설치한다.
|
□
|
□
|
|
|
||
|
6. 작업자의 구성 및 작업근로자의 역할 범위
|
|
|
|
(1) 작업인원의 구성
|
|
<그림 4> 참조
|
<부록 표 7> 중점 안전관리계획
|
7. 중점 안전관리계획
|
||
|
|
||
|
(1) 타워크레인 안전관리계획
|
||
|
(가) 현장 조치사항
|
양호
|
불량
|
|
- 타워크레인 최상부에 풍속계를 설치하여 풍하중에 대한 안전성을 확보하며, 순간풍속 10m/sec 초과 시 또는 악천후 시에는 작업을
중지한다. |
□ |
□ |
|
- 타 공정 작업업체에 사전 설치․해체 일정을 통보한다.
|
□
|
□
|
|
- 작업 시작 전에 작업구간에 출입금지 조치를 실시한다.
|
□
|
□
|
|
- 작업구간 내 일체의 타 공정 작업금지를 통보한다.
|
□
|
□
|
|
- 중량물 인양 시 보행자를 전면 통제한다.
|
□
|
□
|
|
- 타워크레인 작업반경내의 고압선에 절연덮개를 설치한다.
|
□
|
□
|
|
- 야간작업 필요시 작업 등을 준비한다.
|
□
|
□
|
|
- 설치․해체 작업구간 내 통제요원을 배치한다.
|
□
|
□
|
|
- 상부작업자는 2줄 걸이 안전대 착용을 의무화한다.
|
□
|
□
|
|
|
||
|
(나) 설치․조립․해체 업체의 조치 및 준비사항
|
양호
|
불량
|
|
- 작업팀 명단 및 건강진단서를 현장에 제출한다.
|
□
|
□
|
|
- 사전 등록된 팀 인원 및 작업장비 투입을 확인한다.
|
□
|
□
|
|
- 설치․해체 작업자의 안전 장구류를 사전에 준비한다.
|
□
|
□
|
|
- 안전모, 안전대 등 개인보호구 미착용자는 작업 투입을 금지한다.
|
□
|
□
|
|
- 안전관리자, 작업팀은 작업공정 및 위험요소를 사전 숙지한다.
|
□
|
□
|
|
- 작업자 혼란방지를 위해 작업자간 신호체계를 유지한다.
|
□
|
□
|
|
|
||
|
(2) 설치․해체용 크레인 통제방안
|
양호
|
불량
|
|
- 설치․해체 크레인의 제원을 확인한다.
|
□
|
□
|
|
- 설치․해체 크레인의 등록증, 보험증권, 자격증 사본을 받는다.
|
□
|
□
|
|
- 진입로 확보 및 현장 함몰 위험 지역을 사전에 파악한다.
|
□
|
□
|
|
- 장비 유도 요원을 배치한다.
|
□
|
□
|
|
- 설치․해체 크레인의 작업 공간을 확보한다.
|
□
|
□
|
|
- 작업 전 점검 실시를 의무화한다.
|
□
|
□
|
|
|
||
<부록 표 7> 중점 안전관리계획 (계속)
|
(3) 운반차량 통제방안
|
양호
|
불량
|
|
- 투입차량의 작업시간, 대수를 확인한다.
|
□
|
□
|
|
- 운반차량 대기 장소를 사전에 파악하여 운반차량 과집중을 방지한다.
|
□
|
□
|
|
- 운반차량 진입 유도 요원을 배치한다.
|
□
|
□
|
|
- 운전기사는 현장 하차시 안전모와 안전화를 착용한다.
|
□
|
□
|
|
|
||
|
(4) 안전교육
|
||
|
(가) 작업팀에 대한 교육
|
양호
|
불량
|
|
- 설치․해체 작업 투입 전 특별 안전교육을 실시한다.
|
□
|
□
|
|
- TBM(tool box meeting)을 통해 위험요소를 확인한다.
|
□
|
□
|
|
|
|
|
|
(나) 작업팀에 대한 현장 확인사항
|
양호
|
불량
|
|
- 작업 투입 전에 작업자의 건강상태를 점검한다.
|
□
|
□
|
|
- 작업 구간 내 인원 및 장비를 통제한다.
|
□
|
□
|
|
- 맨홀, 개구부 등의 위험요소를 사전에 통제한다.
|
□
|
□
|
|
|
||
|
(5) 노후장비에 대한 비파괴검사
|
양호
|
불량
|
|
- 노후장비는 피로균열 위험성이 높으므로 yoke 및 주요용접부의
검사를 권장한다. |
□
|
□
|
|
- 노후장비는 피로파괴 위험성에 대한 안전조치로 노후정도에
따라 정격하중 이하의 하중을 양중하도록 권장한다. |
□
|
□
|
|
|
||
<부록 표 8> 타워크레인 지지 방법
|
8. 타워크레인 지지방법
|
|||
|
|
|||
|
(1) 타워크레인 지지 방법
|
벽체 지지․고정 방식
|
□
|
|
|
와이어로프 지지․고정 방식
|
□
|
||
|
|
|||
|
(2) 벽체 지지․고정 방식인 경우의 준수사항
|
양호
|
불량
|
|
|
- 서면심사에 관한 서류 또는 제조사의 설치작업설명서 등에 따라
설치할 것 |
□
|
□
|
|
|
- 서면심사 서류 등이 없거나 명확하지 아니한 경우에는 「국가기술 자격법」에 따른 건축구조․건설기계․기계안전․건설안전기술사 또는 건설안전분야 산업안전지도사의 확인을 받아 설치하거나
기종별․모델별 공인된 표준방법으로 설치할 것 |
□ |
□ |
|
|
- 콘크리트구조물에 고정시키는 경우에는 매립이나 관통 또는 이와
동등 이상의 방법으로 충분히 지지되도록 할 것 |
□
|
□
|
|
|
- 건축 중인 시설물에 지지하는 경우에는 그 시설물의 구조적 안
정성에 영향이 없도록 할 것 |
□
|
□
|
|
|
(3) 와이어로프에 지지하는 경우의 준수사항
|
|||
|
- 서면심사에 관한 서류 또는 제조사의 설치작업설명서 등에 따라
설치할 것 |
□
|
□
|
|
|
- 서면심사 서류 등이 없거나 명확하지 아니한 경우에는 「국가기술 자격법」에 따른 건축구조․건설기계․기계안전․건설안전기술사 또는 건설안전분야 산업안전지도사의 확인을 받아 설치하거나
기종별․모델별 공인된 표준방법으로 설치할 것 |
□ |
□ |
|
|
- 와이어로프를 고정하기 위한 전용 지지프레임을 사용할 것
|
□
|
□
|
|
|
- 와이어로프 설치각도는 수평면에서 60도 이내로 하되, 지지점
은 4개소 이상으로 하고, 같은 각도로 설치할 것 |
□
|
□
|
|
|
- 와이어로프와 그 고정부위는 충분한 강도와 장력을 갖도록 설 치하고, 와이어로프를 클립ㆍ샤클(shackle, 연결고리) 등의 고 정기구를 사용하여 견고하게 고정시켜 풀리지 않도록 하며, 사용 중에는 충분한 강도와 장력을 유지하도록 할 것. 이 경 우 클립ㆍ샤클 등의 고정기구는 한국산업표준 제품이거나 한 국산업표준이 없는 제품의 경우에는 이에 준하는 규격을 갖춘
제품이어야 한다. |
□ |
□ |
|
|
- 와이어로프가 가공전선(架空電線)에 근접하지 않도록 할 것
|
□
|
□
|
|
'KOSHA GUIDE > 건설안전지침' 카테고리의 다른 글
| KOSHA GUIDE-건설안전지침-우물통기초 안전보건 작업지침 (1) | 2023.10.31 |
|---|---|
| KOSHA GUIDE-건설안전지침-교량공사(라멘교) 안전보건작업지침 (1) | 2023.10.31 |
| KOSHA GUIDE-건설안전지침-이동식 크레인 양중작업의 안정성 검토 지침 (1) | 2023.10.27 |
| KOSHA GUIDE-건설안전지침-항타기·항발기 사용 작업계획서 작성지침 (0) | 2023.10.27 |
| KOSHA GUIDE-건설안전지침-굴착공사 계측관리 기술지침 (1) | 2023.10.26 |






